Larsen's Fire Hose Cabinets
Models Available:
HC3030, HC3262 and HC3234 SERIES HC3238 and HC3242 SERIES
HC3030, HC3262 and HC3234 SERIES
TO SPECIFY THE HC3030, HC3262 and HC3234 SERIES:
- Insert, after "HC" the appropriate prefix for the trim and door material.
If STEEL - Use S. If ALUMINUM - Use AL. If STAINLESS STEEL - Use SS.
If BRASS - Use B. If BRONZE - Use BZ. (Brass and Bronze available only in the HC3030 Series) - Select the required model number from the table below.
- Select the door style from the illustrations.
![]() |
![]() |
Dimensions
| Model Number |
Trim Style and Projection |
Inside Box Dimensions* H x W x D |
Outside Trim Dimensions H x W*** |
Rough Opening H x W x D |
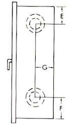
Knockout Locations** E F G |
Interior Capacity |
|
| HC3030-R | Rec. 5/16 | 30 x 30 x 8 | 33½ x 33½ | 31 x 31 x 8¼ | 4" 4" 4" | One hose rack unit with 100 ft. of rack hose and a fire extinguisher |
|
| FS | HC3030-R | Rec. 5/16 | 30 x 30 x 8 | 33½ x 33½ | 321/8 x 321/8 x 91/8 | -- | |
| HC3030-RK | Semi-Rec. 1¼ | 30 x 30 x 8 | 33½ x 33½ | 31 x 31 x 7¼ | 4" 4" 4" | ||
| FS | HC3030-RK | Semi-Rec. 1¼ | 30 x 30 x 8 | 33½ x 33½ | 321/8 x 321/8 x 81/8 | -- | |
| HC3030-RL | Semi-Rec. 2½ | 30 x 30 x 8 | 33½ x 33½ | 31 x 31 x 6 | 4" 4" 4" | ||
| FS | HC3030-RL | Semi-Rec. 2½ | 30 x 30 x 8 | 33½ x 33½ | 321/8 x 321/8 x 7 | -- | |
| HC3030-RT | Trimless | 30 x 30 x 8 | -- | --x --x8½† | 4" 4" 4" | ||
| HC3030-SM | Surface Mtd. | 33½ x 33½ x 8½ | 33½ x 33½ | -- | -- | ||
| HC3232-R | Rec. 5/16 | 32 x 32 x 8 | 35½ x 35½ | 33 x 33 x 8¼ | 4" 4" 4" | One hose rack unit with 100 ft. of rack hose and a fire extinguisher |
|
| FS | HC3232-R | Rec. 5/16 | 32 x 32 x 8 | 35½ x 35½ | 341/8 x 341/8 x 91/8 | -- | |
| HC3232-RK | Semi-Rec. 1¼ | 32 x 32 x 8 | 35½ x 35½ | 33 x 33 x 7¼ | 4" 4" 4" | ||
| FS | HC3232-RK | Semi-Rec. 1¼ | 32 x 32 x 8 | 35½ x 35½ | 341/8 x 341/8 x 81/8 | -- | |
| HC3232-RL | Semi-Rec. 2½ | 32 x 32 x 8 | 35½ x 35½ | 33 x 33 x 6 | 4" 4" 4" | ||
| FS | HC3232-RL | Semi-Rec. 2½ | 32 x 32 x 8 | 35½ x 35½ | 341/8 x 341/8 x 7 | -- | |
| HC3232-RT | Trimless | 32 x 32 x 8 | -- | --x --x8½† | 4" 4" 4" | ||
| HC3232-SM | Surface Mtd. | 35½ x 35½ x 8½ | 35½ x 35½ | -- | -- | ||
| HC3234-R | Rec. 5/16 | 34 x 32 x 8 | 37½ x 35½ | 35 x 33 x 8¼ | 4" 4" 4" | One hose rack unit with 100 ft. of rack hose and a fire extinguisher |
|
| FS | HC3234-R | Rec. 5/16 | 34 x 32 x 8 | 337½ x 35½ | 361/8 x 341/8 x 91/8 | -- | |
| HC3234-RK | Semi-Rec. 1¼ | 34 x 32 x 8 | 37½ x 35½ | 35 x 33 x 7¼ | 4" 4" 4" | ||
| FS | HC3234-RK | Semi-Rec. 1¼ | 34 x 32 x 8 | 37½ x 35½ | 361/8 x 341/8 x 81/8 | -- | |
| HC3234-RL | Semi-Rec. 2½ | 34 x 32 x 8 | 37½ x 35½ | 35 x 33 x 6 | 4" 4" 4" | ||
| FS | HC3234-RL | Semi-Rec. 2½ | 34 x 32 x 8 | 37½ x 35½ | 361/8 x 341/8 x 7 | -- | |
| HC3234-RT | Trimless | 34 x 32 x 8 | -- | --x --x8½† | 4" 4" 4" | ||
| HC3234-SM | Surface Mtd. | 37½ x 35½ x 8½ | 37½ x 35½ | -- | -- |
HC3238 and HC3242 SERIES
TO SPECIFY THE HC3238 and HC3242 SERIES:
- Insert, after "HC," the appropriate prefix for the trim and door material.
If STEEL - Use S. If ALUMINUM - Use AL. If STAINLESS STEEL - Use SS.
- Select the required model number from the table below.
- Select the door style from the illustrations.
![]() |
![]() |
Dimensions
| Model Number |
Trim Style and Projection |
Inside Box Dimensions* H x W x D |
Outside Trim Dimensions H x W*** |
Rough Opening H x W x D |
Knockout Locations** E F G |
Interior Capacity |
|
| HC3238-R | Rec. 5/16 | 38 x 32 x 8 | 41½ x 35½ | 39 x 33 x 8¼ | 4" 4" 4" | One hose rack unit with 100 ft. of rack hose, fire ext. and a Fire Dept. valve |
|
| FS | HC3238-R | Rec. 5/16 | 38 x 32 x 8 | 41½ x 35½ | 401/8 x 341/8 x 91/8 | -- | |
| HC3238-RK | Semi-Rec. 1¼ | 38 x 32 x 8 | 41½ x 35½ | 39 x 33 x 7¼ | 4" 4" 4" | ||
| FS | HC3238-RK | Semi-Rec. 1¼ | 38 x 32 x 8 | 41½ x 35½ | 401/8 x 341/8 x 81/8 | -- | |
| HC3238-RL | Semi-Rec. 2½ | 38 x 32 x 8 | 41½ x 35½ | 39 x 33 x 6 | 4" 4" 4" | ||
| FS | HC3238-RL | Semi-Rec. 2½ | 38 x 32 x 8 | 41½ x 35½ | 401/8 x 341/8 x 7 | -- | |
| HC3238-RT | Trimless | 38 x 32 x 8 | -- | --x --x8½† | 4" 4" 4" | ||
| HC3238-SM | Surface Mtd. | 41½ x 35½ x 8½ | 41½ x 35½ | -- | -- | ||
| HC3242-R | Rec. 5/16 | 42 x 32 x 8 | 45½ x 35½ | 43 x 33 x 8¼ | 4" 4" 4" | One hose rack unit with 125 ft. of rack hose, fire ext. and a Fire Dept. valve |
|
| FS | HC3242-R | Rec. 5/16 | 42 x 32 x 8 | 45½ x 35½ | 441/8 x 341/8 x 91/8 | -- | |
| HC3242-RK | Semi-Rec. 1¼ | 42 x 32 x 8 | 45½ x 35½ | 43 x 33 x 7¼ | 4" 4" 4" | ||
| FS | HC3242-RK | Semi-Rec. 1¼ | 42 x 32 x 8 | 45½ x 35½; | 441/8 x 341/8 x 81/8 | -- | |
| HC3242-RL | Semi-Rec. 2½ | 42 x 32 x 8 | 45½ x 35½ | 43 x 33 x 6 | 4" 4" 4" | ||
| FS | HC3242-RL | Semi-Rec. 2½ | 42 x 32 x 8 | 45½ x 35½ | 441/8 x 341/8 x 7 | -- | |
| HC3242-RT | Trimless | 42 x 32 x 8 | -- | --x --x8½† | 4" 4" 4" | ||
| HC3242-SM | Surface Mtd. | 45½ x 35½ x 8½ | 45½ x 35½ | -- | -- |
|
* All Hose Cabinets are available with 6" deep box, at no charge, if specified. ** No knockouts are provided for surface-mounted cabinets unless specified. † Trimless cabinets must be installed before the drywall. Plaster stop must be behind the drywall. Trimless are not recommended for block wall installation. *** Deduct ¾" from HxW Dimensions for Cabinets with Aluminum Door & Trim. This does not apply to "FS" fire-rated option. |



